Новости
Личные финансы
Родители и дети
Здоровье
Ещё
Развлечения и отдых
Дом и уют
Спорт
Карьера
Авто
Технологии и тренды
Жизненные ситуации
Сберегаем вместе
Гороскопы
Почта
Поиск
Погода
ТВ-программа
Помощь
Автоновости
За рулём
Про машины
Лайфхаки
Тренды
Автовыгода
ПДД
Маршруты мечты
Все материалы за 14 января 2022
14 января
Январь
2022
пн
вт
ср
чт
пт
сб
вс
1
2
3
4
5
6
7
8
9
10
11
12
13
14
15
16
17
18
19
20
21
22
23
24
25
26
27
28
29
30
31
Сегодня
Зимний марафон «Дорога жизни» ограничит движение автомобилей
ДТП
14 января 2022
Мужчина сделал 933 селфи и заработал на них $1млн, превратив в NFT-токены
ДТП
14 января 2022
Летающий автомобиль Volar на видео. Так должны выглядеть автомобили будущего
Автособытия
14 января 2022
Российский автомобильный рынок в 2021 году вырос на 4%
Автоэксперт
14 января 2022
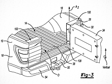
Ford может изменить конструкцию откидного борта у пикапов
Автоэксперт
14 января 2022
В Пензенской области подготовлено более 20 мест для крещенских купаний
ДТП
14 января 2022
У Альфонсо Дэвиса признаки миокардита после ковида. Игрок «Баварии» пропустит несколько недель
Автоэксперт
14 января 2022
Подрядчикам срежут оплату за некачественную уборку улиц
Автособытия
14 января 2022
Водителя в Серпухове привлекли к ответственности после катания людей на санках за его авто
Автособытия
14 января 2022
Haval назвал сроки запуска нового завода в России
Автоэксперт
14 января 2022
Фото: потрепанный "Газон" прилег на встречной полосе в Петербурге
ДТП
14 января 2022
Новый премьер Швеции заразилась коронавирусом
Автособытия
14 января 2022
Участок трассы под Саратовом закрыли из-за непогоды
ДТП
14 января 2022
В Башкирии сняли ограничение движения на участке трассы Р-240
ДТП
14 января 2022
Для сумок придумали специальный «ремень безопасности»
Автоэксперт
14 января 2022
1
...
14
15
16
17
18